
炒股就看金麒麟分析师研报配资炒股平台排行,权威,专业,及时,全面,助您挖掘潜力主题机会!
来源:南财社
刚否认不实消息,博纳就被打脸了。
博纳董事长于冬,真的因欠赌场钱被起诉了。但不是因为自己,而是给别人担保。
虽然于冬自己没有欠赌场钱,但他确实也囊中羞涩。天眼查显示,于冬所持多家公司股权被冻结,被冻结金额超5.66亿。
要知道于冬在博纳上市前,就已经通过大大小小的公司套现了14个多亿,如今竟然因为不到500万港元被赌场追债,短短几年,怎么就混成这样了?
01
每经实锤博纳董事长于冬欠赌场钱被诉
元股证券:yy6699.vip于冬律师回应:为第三方担保,目前已经偿还
3月10日,博纳董事长于冬欠澳门永利赌场473万元款项未还的消息,引起市场的广泛关注。博纳工作人员的回应也耐人寻味:假使核查结果“为真”,该事情也属于董事长个人私事,对公司经营不构成影响。
果不其然,当天晚上,每日经济新闻就爆出了从香港高等法院获得的永利赌场起诉于冬的文件。
文件显示,在前不久的3月3日,永利度假村(澳门)股份有限公司的确已向香港高等法院起诉了一名名为于冬的人。其中提到,被告于冬为职业电影制片人,在多家香港公司担任董事,包括但不限于博纳影视娱乐。可见,澳门永利起诉的于冬,就是博纳的董事长。
起诉书显示,被告于冬曾在2024年5月1日左右获永利澳门提供1000万港元信贷额度,并签署了两份总额为1000万港元的提款确认书。
据每日经济新闻报道,2026年1月28日左右,永利澳门根据信贷协议条款,将于冬早前签署作担保的空白支票填上金额等资料,试图兑取约573万港元的余额,但遭到银行以“咨询出票人”为由退票。
澳门永利赌场指出,于冬在该支票被拒付后,曾在2月1日左右偿还100万港元,所有才拖欠473万港元本金。
也就是说,赌场将于冬告上法庭的直接原因,就是因为其支票遭到银行退票,联系其本人后,依旧没能全额讨回。
这背后的原因就耐人寻味了。
不过于冬的个人律师表示,“该债务是由于冬为第三方提供信用担保所导致。”目前诉讼所涉及款项已全部清还,相应法律诉讼已终止。
因为给第三方担保而被赌场追债的案例并不少见。去年,知名香港明星向佐就曾被美高梅追债,当时美高梅表示,向佐欠债主要也是帮朋友担保。
不过起诉书中也透露出一个事实:于冬本人确实是赌场的客户。
澳门永利还在起诉书中表示,在本诉讼相关期间,于冬为其所持有及经营赌场的客户。
这也让不少股民担忧。回顾过去,不少知名企业家都倒在“赌博”这事上。
比如金立手机的刘立荣,就是因为沉迷赌博,输了超100亿,为了填补窟窿,于是挪用公款。最终导致公司资金链断裂,走向了破产的终局。
曾经的海翔药业,创始人罗邦鹏花了40年,把公司变成家族企业,曾在原料药和医药中间体生产和销售多类产品产量中做到国内第一,但儿子罗煜竑接班后不久,坊间就传出其沉迷赌博欠下5亿巨债,最终只能减持套现还钱,痛失掉公司控制权。
还有曾经的照明巨头,雷士照明创始人吴长江就因嗜赌,鼎锋优配,鼎锋优配配资,香港鼎锋优配公司失去百亿财富、遭受10年牢狱之灾。据他透露,最疯狂的时候曾15倍杠杆赌博输掉十几亿。最终因为挪用资金、职务侵占入狱,直到前两年才出狱。
这么多鲜明的案例都摆在面前,让不少股民担心,万一于冬真的沾上赌博,真的不会对博纳造成影响吗?
02
于冬个人资金状况紧张
持股的5.66亿元股权冻结
更让网友疑惑的是:堂堂一家上市公司董事长,几百万都拿不出吗?要知道,博纳A股上市前,有媒体就统计,于冬已经通过旗下大大小小的公司,累计套现了14.31亿。
网友的担忧不是没有道理的。因为,于冬最近的现金状况确实有点堪忧。
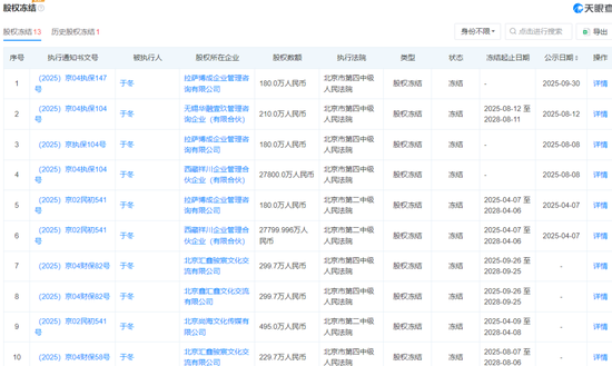
天眼查显示,于冬名下关联企业近50家,但在2025年内,于冬持有的多家公司股权被法院冻结,或被采取财产保全措施,涉及金额超5.66亿元。其中最大的一笔为西藏祥川,被冻结2.78亿股权。
2025年3月31日,于冬所持博纳影业1.37亿股被北京市第二中级人民法院冻结,冻结期限3年。这笔股权占其个人持股的48.7%,占公司总股本的10%。公司称此次冻结系于冬个人融资事项所致。
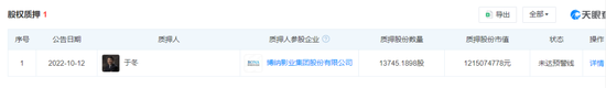
此外,2022年,于冬还曾将其持有的1.37亿股博纳影业股份质押给中信信托,用于满足个人融资需求。
2021-2025年里,于冬本人还累计被执行1.53亿元。
于冬还曾有违规占用公司非经营性资金,且未按规定披露这些资金的使用情况的“黑历史”。
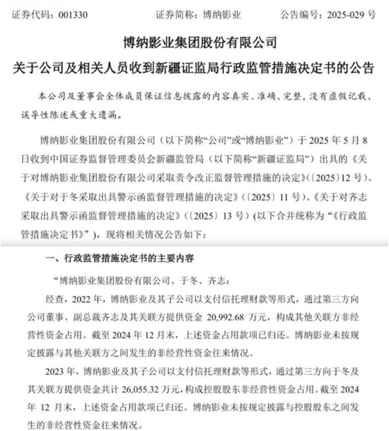
2025年5月,博纳影业发布公告称,公司和董事长于冬、副总裁齐志收到新疆证监局行政监管措施决定书的公告。内容显示,2023年,博纳影业及其子公司以支付信托理财款等形式,通过第三方向于冬及其关联方提供资金共计约2.6亿元,构成控股股东非经营性资金占用。截至2024年12月末,上述资金占用款项已归还。博纳影业未按规定披露与控股股东之间发生的非经营性资金往来情况。
03
元股证券
上市以来业绩持续下滑
不到4年亏掉超26亿
另一边,博纳影业的业绩也让人堪忧。
曾靠着《湄公河行动》《长津湖》、《长津湖之水门桥》、《红海行动》、《中国机长》、《我和我的家乡》等一系列主旋律大片,创下高票房和业绩的博纳,近几年却面临业绩下滑,持续亏损的现状。
财报显示,2022年上市以来,博纳营收呈现出逐年下滑的趋势。
归母净利润更是连续亏损4年。2022年~2024年,分别亏损0.75亿、5.53亿、8.67亿,3年亏损掉14.95亿。到了2025年亏损还在继续扩大,光是前三个季度就亏掉11.1亿,全年更是预亏12.61亿~14.77亿,亏损同比扩大45.46%~70.33%,累计亏损已超26亿。
业绩压力下,于冬也曾主动降薪。2024年,于冬年薪为80.64万,相较2023年的106.18万元有所下降。这点钱对于博纳来说,显然是杯水车薪。
而在连年亏损之下,博纳影业的流动性已严重不足。截至2025年三季度末,博纳影业持有货币资金13.56亿元,持有交易性金融资产585.6万元。不过,其所持货币资金大多处于权利受限状态。公司持有现金及现金等价物余额仅1.94亿元。而公司短期借款和一年内到期的非流动负债合计高达10.6亿元,资金缺口达到近8.7亿元。
此外,据博纳影业2月3日公告显示,公司及控股子公司对外担保额度总计49.93亿元人民币,截至公告日,对外担保总余额为26.02亿元。
虽然在2026年这个近8年“最冷春节档”中,博纳影业押中了票房冠军的《风驰人生3》,或将为其财务困境带来一定转机,但在市场寒冬中,过往的那套“主旋律”打法失灵下,于冬不仅要带领博纳解决债务危机,又要把握住观众,重振市场信心,难度不是一般的大。
海量资讯、精准解读,尽在新浪财经APP
责任编辑:杨红卜 配资炒股平台排行
鼎锋优配官方网站配资提示:本文来自互联网,不代表本网站观点。